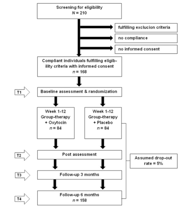
Study protocol of the ASD-Net, the German research consortium for the study of Autism Spectrum Disorder across the lifespan: from a better etiological understanding, through valid diagnosis, to more effective health care
Abstract Background: Autism Spectrum Disorder (ASD) is a severe, lifelong neurodevelopmental disorder with early onset that places a heavy burden on affected individuals and their families. Due to the need for highly specialized health, educational and vocational services, ASD is a cost-intensive disorder, and strain on health care systems increases with increasing age of the affected […]

